КАТАЛОГ
Наши преимущества:
- являемся производителями
- более 20 лет на рынке
- короткие сроки изготовления (возможно изготовление за один день)
- выполнено более 10 000 заказов
- производим более 50 кранов в месяц
Опросные листы
Наша продукция
Расчет расстояний между городами
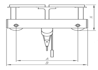
Мостовые краны 5 тонн с пролетом 7,5 м

Технические характеристики
| Пролет крана L, м | Длина крана Lп, м | База А, мм | Ширина В, мм | Строительная высота Н, мм | Масса крана без тали, т | Расстояние между ребордами колеса, мм | Мощность двигателей без тали, кВт | Нагрузка на колесо, кН |
|---|---|---|---|---|---|---|---|---|
| 7,5 | 7,62 | 1250 | 1500 | 690 | 0,95 | 74 | 2х0,37 | 28,5 |

